SYSTEM, METHOD AND APPARATUS FOR A MICROMACHINED INTERFEROMETER USING OPTICAL SPLITTING
Abstract:
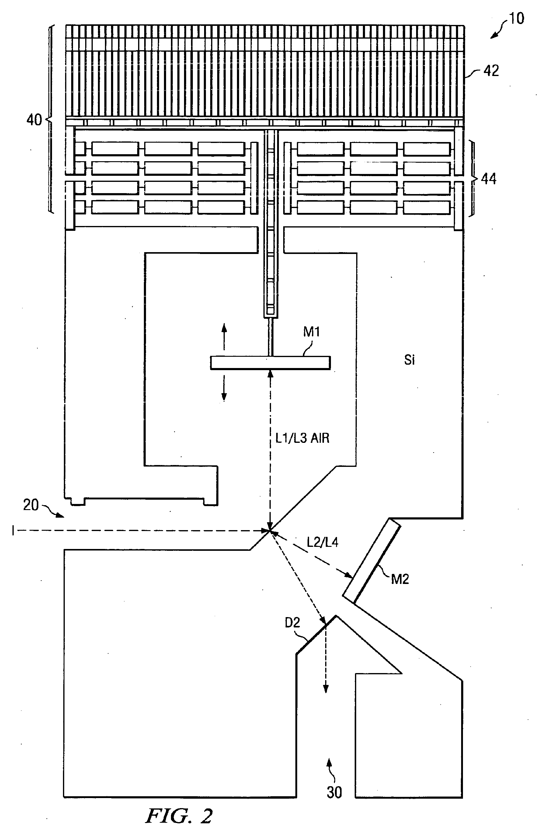
A micromachined interferometer (10) is achieved using a half plane beam splitter. The beam splitter is optically coupled to receive an incident beam (I) and operates to split the incident beam into two interfering beams (L1 and L2), each propagating in a different medium. A fixed mirror (M2) embedded in one of the mediums reflects one of the interfering beams (L2) back towards the half plane beam splitter through such medium, while a moveable mirror (M1), which is controlled by an actuator (40), reflects the other interfering beam (L1) back towards said half plane beam splitter through the other medium. A detection plane (D1 or D2) detects an interference pattern produced as a result of interference between the reflected interfering beams (L3 and L4).
Images

EP20070301406
Ready to Streamline analysis processes for your business ?
See NeoSpectra in action and learn how it can enhance your analysis workflows. Complete the form to request a demo and we’ll be glad to guide you through its unique features.