SELF CALIBRATION FOR MIRROR POSITIONING IN OPTICAL MEMS INTERFEROMETERS
Abstract:
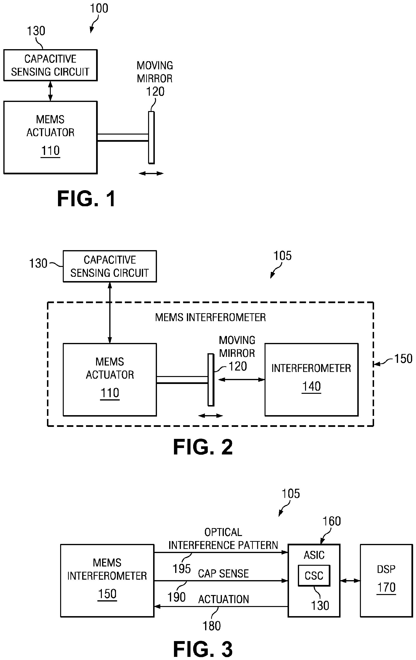
Embodiments of the present invention provide a Micro-Electro-Mechanical System (MEMS) apparatus for performing self-calibration of mirror positioning. The MEMS apparatus includes a movable mirror and a MEMS actuator having a variable capacitance that is coupled to the moveable mirror to cause a displacement thereof. The MEMS apparatus further includes a memory maintaining a table mapping capacitance of the MEMS actuator to position of the moveable mirror, a capacitive sensing circuit coupled to the MEMS actuator for sensing a current capacitance of the MEMS actuator, a digital signal processor for accessing the table to determine a current position of the moveable mirror based on the current capacitance of the MEMS actuator and a calibration module for determining respective actual capacitances of the MEMS actuator at two or more known positions of the moveable mirror to determine a correction amount to be applied to the current position of the moveable mirror. The digital signal processor further produces a corrected current position of the moveable mirror using the correction amount. A MEMS apparatus and MEMS interferometer system of the present invention is as defined by the appended claims.
Images

EP20140704976
Ready to Streamline analysis processes for your business ?
See NeoSpectra in action and learn how it can enhance your analysis workflows. Complete the form to request a demo and we’ll be glad to guide you through its unique features.