Self calibration for mirror positioning in optical MEMS interferometers
Abstract:
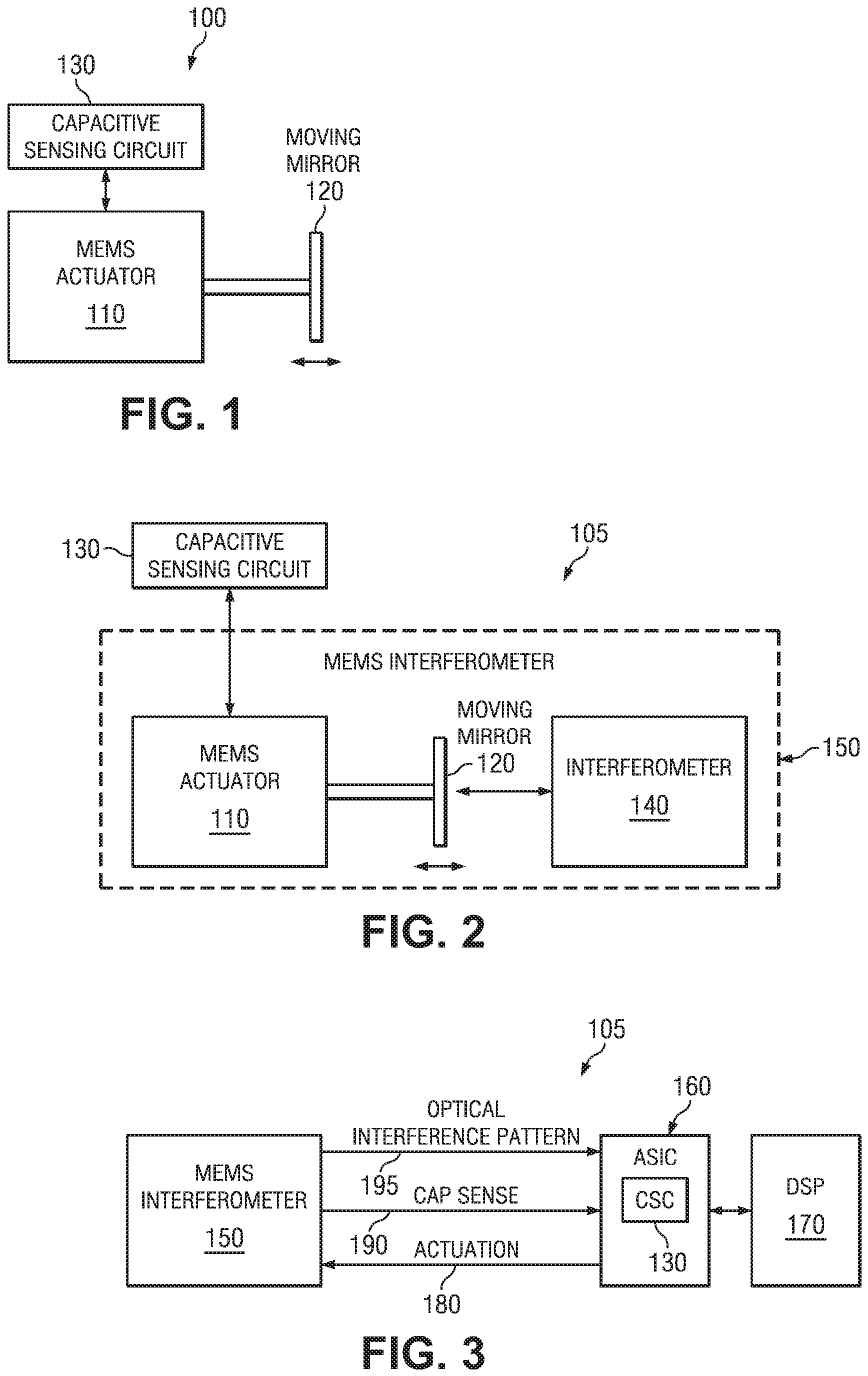
Embodiments of the present disclosure provide a Micro-Electro-Mechanical System (MEMS) apparatus for performing self-calibration of mirror positioning. The MEMS apparatus includes at least one mirror having a non-planar surface and a MEMS actuator having a variable capacitance that is coupled to a moveable mirror to cause a displacement thereof. The MEMS apparatus further includes a memory maintaining a table mapping stored capacitances of the MEMS actuator to respective stored positions of the moveable mirror and a capacitive sensing circuit coupled to the MEMS actuator for sensing the capacitance of the MEMS actuator at multiple reference positions of the moveable mirror corresponding to a center burst and one or more secondary bursts of an interferogram produced by the interferometer based on the non-planar surface. A calibration module uses the actuator capacitances at the reference positions to determine a correction amount to be applied to the stored capacitances. The invention is defined by the appended claims.
Images

EP 167196732
Ready to Streamline analysis processes for your business ?
See NeoSpectra in action and learn how it can enhance your analysis workflows. Complete the form to request a demo and we’ll be glad to guide you through its unique features.