Micro-optical bench device with highly-controlled optical surfaces
Abstract:
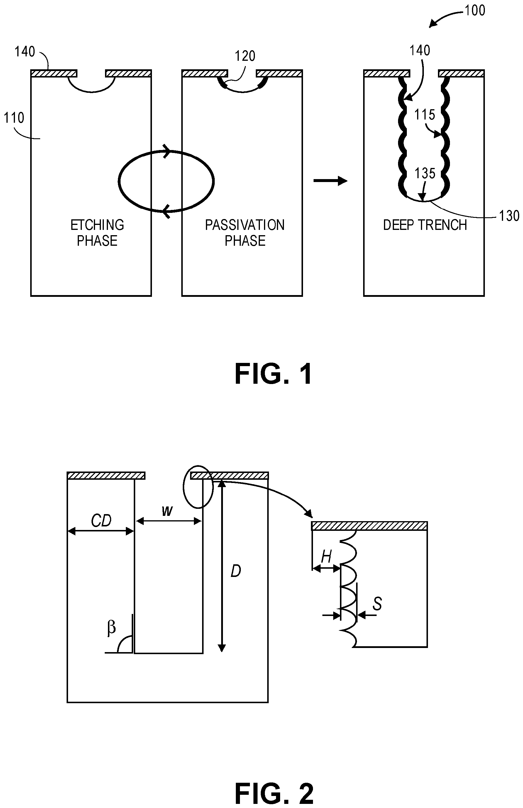
Various aspects of the present disclosure provide a micro-optical bench device fabricated by a process that provides control over one or more properties of the micro-optical bench device and/or one or more properties of optical surfaces in the micro-optical bench device. The process includes etching a substrate to form a permanent structure including optical elements and a temporary structure. The shape of the temporary structure and gaps between the temporary structure and the permanent structure facilitate control of a property of the micro-optical bench and/or optical surfaces of optical elements therein. The property may include, for example, surface roughness, selective coating of surfaces, or inclination angles of the surfaces with respect to a plane of the substrate. The process further includes removing the temporary structure from an optical path of the micro-optical bench device. The present invention is directed to a method for fabricating a micro-optical bench device according to claim 1, and subsidiary aspect of the invention are provided in the dependent claims.
Images

EP3259228A1
Ready to Streamline analysis processes for your business ?
See NeoSpectra in action and learn how it can enhance your analysis workflows. Complete the form to request a demo and we’ll be glad to guide you through its unique features.