MEMS Based Ring LASER Gyroscope With Reduced Lock-In
Abstract:
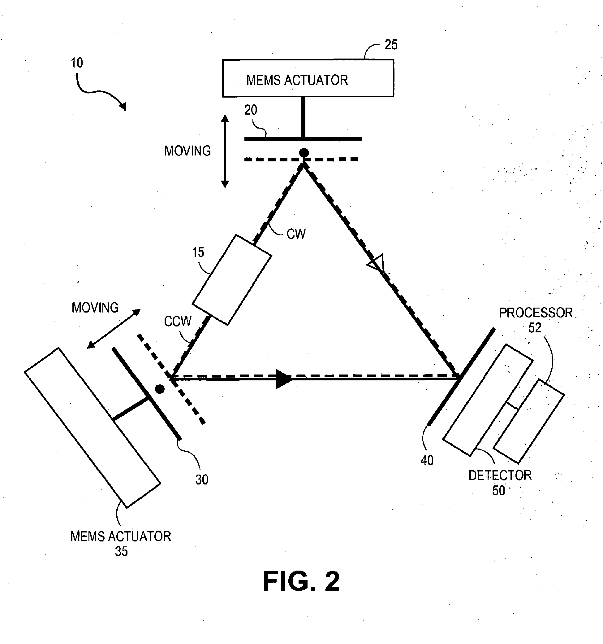
The ring laser gyroscope of the present invention is defined by claim 1. Some related features include an active gain medium for generating first and second light beams, a closed optical path through which the first and second light beams counter-propagate, first and second moveable mirrors within the closed optical path and a Micro-Electro-Mechanical Systems (MEMS) actuator coupled to the first and second moveable mirrors to cause a respective displacement thereof that induces a phase modulation on the first and second light beams relative to .one another, thereby creating an optical path difference between the first and second light beams corresponding to a virtual rotation to reduce the lock-in.
Images

EP2761253A1
Ready to Streamline analysis processes for your business ?
See NeoSpectra in action and learn how it can enhance your analysis workflows. Complete the form to request a demo and we’ll be glad to guide you through its unique features.