INTEGRATED SPECTRAL UNIT
Abstract:
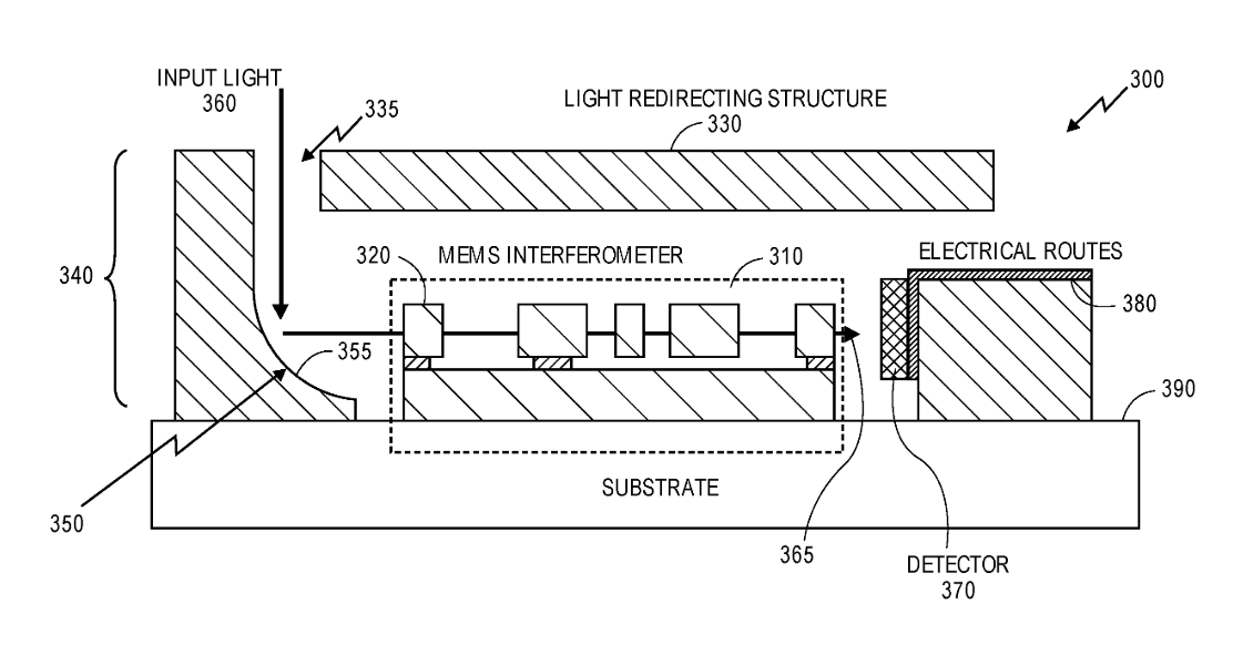
Aspects of the disclosure relate to an Integrated spectral unit including a micro- electro-mechanical systems (MEMS) interferometer fabricated within a first substrate arid a light redirecting structure- integrated on a second substrate, where the second substrate is coupled to the first substrate. The light redirecting structure includes at least one mirror for receiving an input light beam propagating in an out-of-plane direction with, respect to the first substrate and redirecting the input light beam to an in-plane direction with respect to the first substrate towards the MEMS interferometer.
Images

EP3472581A1
Ready to Streamline analysis processes for your business ?
See NeoSpectra in action and learn how it can enhance your analysis workflows. Complete the form to request a demo and we’ll be glad to guide you through its unique features.