INTEGRATED MONOLITHIC OPTICAL BENCH CONTAINING 3-D CURVED OPTICAL ELEMENTS AND METHODS OF ITS FABRICATION
Abstract:
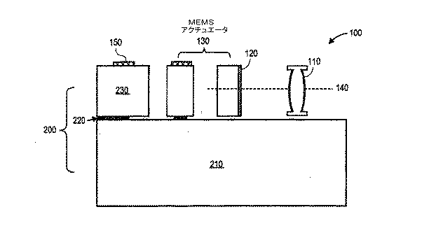
The present invention relates generally to optical bench systems, and more particularly to the fabrication of monolithic optical bench systems microfabricated on a substrate.
Images

JP 2014-537301
united states
download pdf
inventor:
ヤセル エム サブリィヤセル エム サブリィタリック イー ブルイナタリック イー ブルイナバサム エー サダニイバサム エー サダニイディア エーエム カリルディア エーエム カリル
current assignee:
Si Ware Systems SI Ware Systems Inc
Status:
Granted
Status Date:
December 7, 2016
domain:
Si Ware Systems SI Ware Systems Inc
worldwide applications:
2015 . us us . 2026 . kr au ca wo es ep cn mx jp . 2017 . us us 2018 . il
Ready to Streamline analysis processes for your business ?
See NeoSpectra in action and learn how it can enhance your analysis workflows. Complete the form to request a demo and we’ll be glad to guide you through its unique features.
Contact us