INTEGRATED APERTURED MICROMIRROR AND APPLICATIONS THEREOF
Abstract:
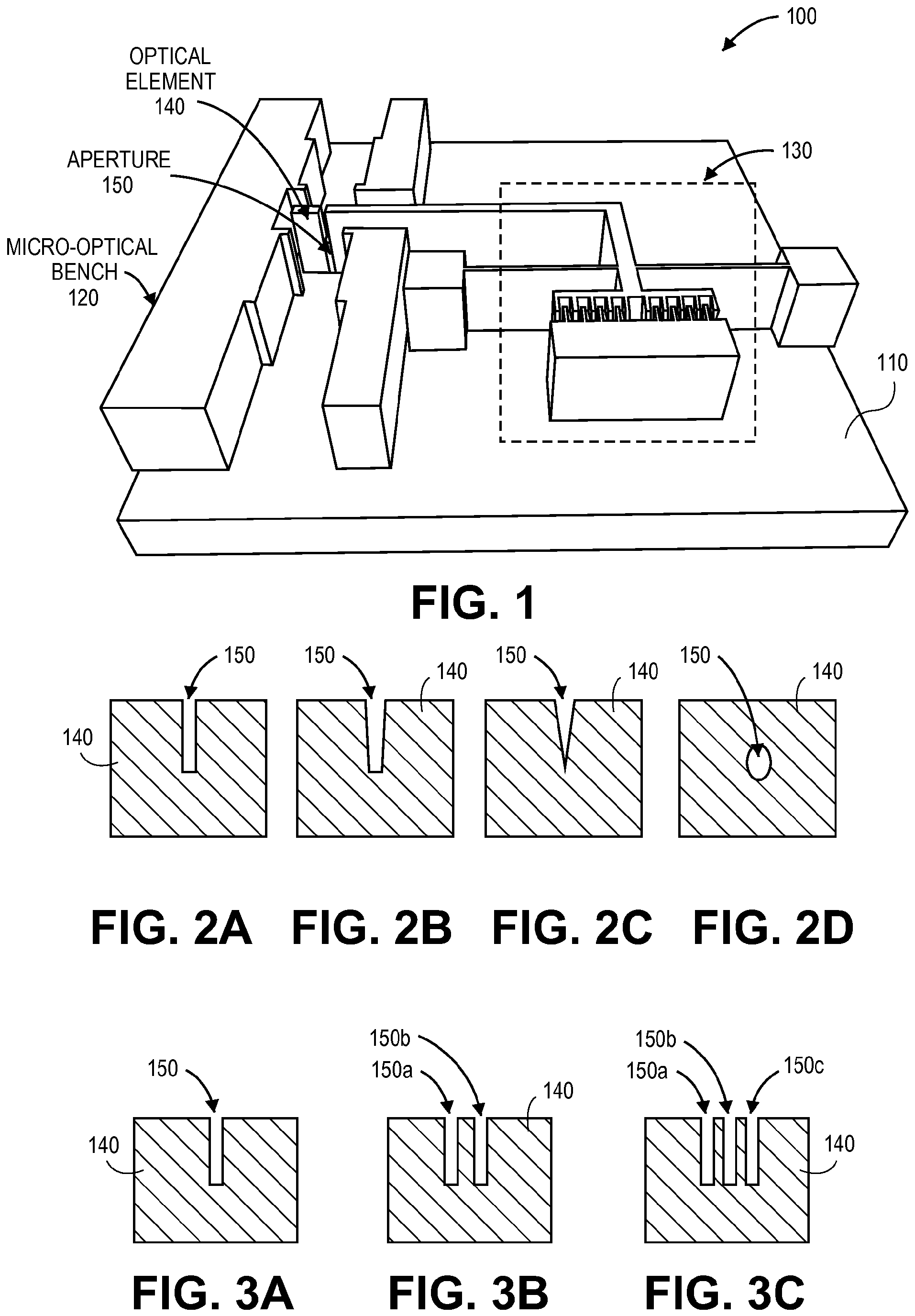
Embodiments of the present invention provide an optical system including a substrate having a micro-optical bench etched therein using a lithographic and deep etching technique. The optical system further includes an apertured optical element that is monolithically integrated with the micro-optical bench and formed using the lithographic and deep etching technique. The optical element is optically coupled to receive an incident beam having an optical axis in a plane of the substrate and to at least partially transmit the incident beam therethrough via the aperture. In one embodiment, the aperture has a rectangular shape, a trapezoidal shape, a triangular shape, a rounded shape or an arbitrary shape determined by the lithographic and deep etching technique. In a further embodiment, the optical element includes at least two apertures that are homogenous with respect to at least one of a height of each of the at least two apertures, width of each of the at least two apertures and separation between the at least two apertures. At least one side of the optical element is metallized, the optical element may include at least two layers of dielectric material such that the aperture passes through each of the layers, the optical element may include a photonic crystal mirror and/or the optical element may be curved in two dimensions or three dimensions. In another embodiment, the optical element has a reflectivity. The reflectivity may be determined at least in part by one or more of a width of the aperture, an amount of offset between a center of the aperture and the optical axis of the incident beam and a number of apertures within the optical element.
Images

EP20140725821
Ready to Streamline analysis processes for your business ?
See NeoSpectra in action and learn how it can enhance your analysis workflows. Complete the form to request a demo and we’ll be glad to guide you through its unique features.