COMPENSATED MEMS FT-IR SPECTROMETER ARCHITECTURE
Abstract:
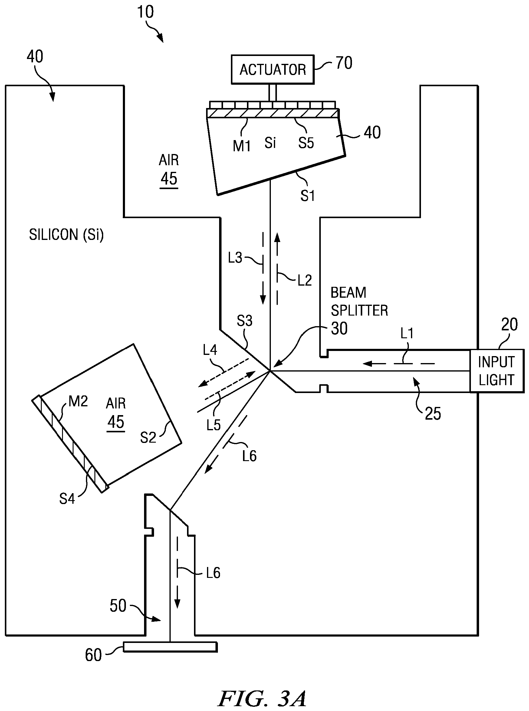
A Micro Electro-Mechanical System (MEMS) spectrometer architecture compensates for verticality and dispersion problems using balancing interfaces. A MEMS spectrometer/interferometer includes a beam splitter formed on a first surface of a first medium at an interface between the first medium and a second medium, a first mirror formed on a second surface of the first medium, a second mirror formed on a third surface of the first medium and balancing interfaces designed to minimize both a difference in tilt angles between the surfaces and a difference in phase errors between beams reflected from the first and second mirrors.
Images

201107529-8
Ready to Streamline analysis processes for your business ?
See NeoSpectra in action and learn how it can enhance your analysis workflows. Complete the form to request a demo and we’ll be glad to guide you through its unique features.